找回密码
 注册
查看: 6203|回复: 8

gambit如何设置对称旋转轴?

[复制链接]
发表于 2011-1-27 17:09:25 | 显示全部楼层 |阅读模式

马上注册,结交更多好友,享用更多功能,让你轻松玩转社区。

您需要 登录 才可以下载或查看,没有账号?注册

x
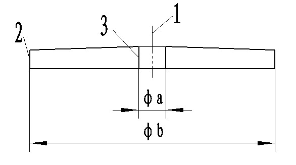
我要计算的区域是一个环形结构,如附图所示,1是圆柱中心轴,2是周向进口,3是中心周向出口。因为是轴对称旋转结构,所以想简化成二维求解,只取一半的图形(即一个四边形),但是这个对称轴并不在这个四边形上,所以我要怎么设置这个对称轴?是直接创建一个实体的直线吗?

PS:这个轴的边界条件设置成axis吗?在求解器中slover中是设置成axisymmetric swirl 吗?

真心求解。。。。不胜感激。。。。
示意图.jpg
发表于 2011-1-27 21:33:42 | 显示全部楼层
这样行不行?
Snap2.jpg
发表于 2011-1-28 11:26:13 | 显示全部楼层
朋友,回个话呀,
行不行啊
 楼主| 发表于 2011-1-28 11:43:45 | 显示全部楼层

回复 3# invader 的帖子

我给你发了短信息啊,我想看看你的gambit中模型和网格图?这个对称轴是不是要实体建模啊?
发表于 2011-1-28 12:14:16 | 显示全部楼层
你也不看回帖,我找了半天,只剩下msh文件了

[ 本帖最后由 invader 于 2011-1-28 12:15 编辑 ]
Snap9.jpg

111.msh.rar

507.6 KB, 下载次数: 458

发表于 2011-1-28 12:16:28 | 显示全部楼层
如何?
 楼主| 发表于 2011-1-28 12:32:14 | 显示全部楼层

回复 6# invader 的帖子

兄弟,网格文件打不开啊?根本没法解压啊
 楼主| 发表于 2011-1-28 12:34:37 | 显示全部楼层

回复 6# invader 的帖子

兄弟,有QQ吗?详细请教一下
发表于 2011-1-28 14:20:54 | 显示全部楼层
我看论坛交流最好了,呵呵
网格文件怎么打不开呢,
你把后缀直接删掉啊,不是压缩的,我改的后缀
您需要登录后才可以回帖 登录 | 注册

本版积分规则

快速回复 返回顶部 返回列表