找回密码
 注册
查看: 3814|回复: 7

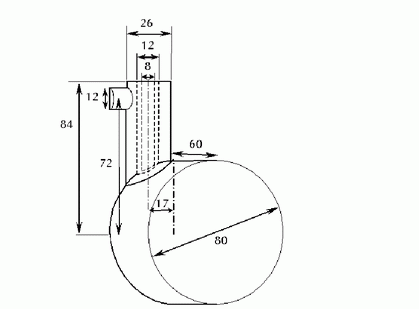
先上传分享一个三维建模以及网格划分的例子

[复制链接]
发表于 2011-1-1 15:05:47 | 显示全部楼层 |阅读模式

马上注册,结交更多好友,享用更多功能,让你轻松玩转社区。

您需要 登录 才可以下载或查看,没有账号?注册

x
适合gambit初学者,感觉对于模型的建立以及网格划分是一个挺好的练习,难度适中!

11.pdf

881.21 KB, 下载次数: 888

 楼主| 发表于 2011-1-1 15:10:05 | 显示全部楼层
发表于 2011-1-25 08:15:02 | 显示全部楼层
呵呵,很好的资料,加油!
发表于 2011-1-25 08:33:30 | 显示全部楼层
这个画法弄出来的网格,还是有些粗糙,局部可以再调整一下。

[ 本帖最后由 浪子轻狂 于 2011-1-25 00:35 编辑 ]
发表于 2011-1-25 09:24:35 | 显示全部楼层
看看  帮顶
发表于 2011-1-26 10:53:18 | 显示全部楼层
看看~~学习~~~~~~~
发表于 2013-3-22 23:12:23 | 显示全部楼层
谢谢分享,准备学习,很好的资料
发表于 2013-4-12 10:23:17 | 显示全部楼层
我是为了工作没办法,得速成,还请大神们给点资料学习
您需要登录后才可以回帖 登录 | 注册

本版积分规则

快速回复 返回顶部 返回列表